洛杉矶地铁飞轮储能型制动能量回收系统案例分析
洛杉矶地铁飞轮储能型制动能量回收系统案例分析
一、摘要
洛杉矶大都会交通运输局(LA METRO)成立于1993年,负责维护及营运洛杉矶地区的轨道交通路线,洛杉矶地铁拥有包括红线、紫线、蓝线、绿线、金线、橙线、银线及博览线共计8条不同的运行线路。在未来的20年,洛杉矶地铁面临着增加地铁系统容量以及寻找减少污染的替代能源解决方案的任务,为了减少能源消耗及温室气体排放,洛杉矶地铁在红线(Red Line)西湖/麦克阿瑟公园站的牵引变电站(TPSS)实施了一个基于飞轮物理储能技术的Wayside Energy Storage Substation储能变电站(WESS)项目,联邦运输管理局(FTA)根据2009年“美国复苏与再投资法”(ARRA)为该项目提供资金,由LA METRO和VYCON Inc.签约并合作开展。自2014年8月安装完成后,WESS一直处于稳定的运行状态,每天能节省10%至18%的牵引电力能源。
二、WESS系统的选择
洛杉矶地铁在节能设备选择时曾论证了飞轮、电池及超级电容方案的可行性。电池具有更高的能量密度和快速放电速率,但是具有较慢的充电速率和有限的循环寿命,慢速充电会降低捕获再生能量的效率,并需要定期检查泄露、裂缝、腐蚀及容量,随着使用年限和充放电循环次数的增加,电池性能会下降。超级电容具有更快的充电和放电速率,但容量和使用寿命有限,当超级电容发生故障时,它们会释放有毒气体,这对于地铁列车的员工和乘客是比较危险的,因此使用超级电容必须采取安全预防措施。飞轮具有优越的循环使用寿命,快速的充放电速率,性能不会随着使用年限和充放电次数增加而下降,与电池和超级电容相比,飞轮仅需要较少的维护,因为使用的磁悬浮轴承而不是机械轴承,占地面积更小,超过20年使用寿命,无需温度调节,无化学泄露,更适合在地铁中应用。
三、WESS项目概况
红线(metro red line)是洛杉矶最早的正式地铁,开通了联合车站到好莱坞方向,每列列车由六辆动车组成,时速高达每小时65英里。最初WESS部署了2MW的系统,具有15秒的充电/放电时间及8.33kwh的容量,每个飞轮以120秒重复和连续地进行完整的充电和放电循环。WESS由四个飞轮模块(FWM)组成,每个飞轮模块功率为500KW,2.08kwh的容量,每个飞轮模块由4个独立的飞轮单元(FWU)组成,每个FWU有125KW,15S的容量,这16个FWU通过并联的方式连接,要求同时充电和放电。
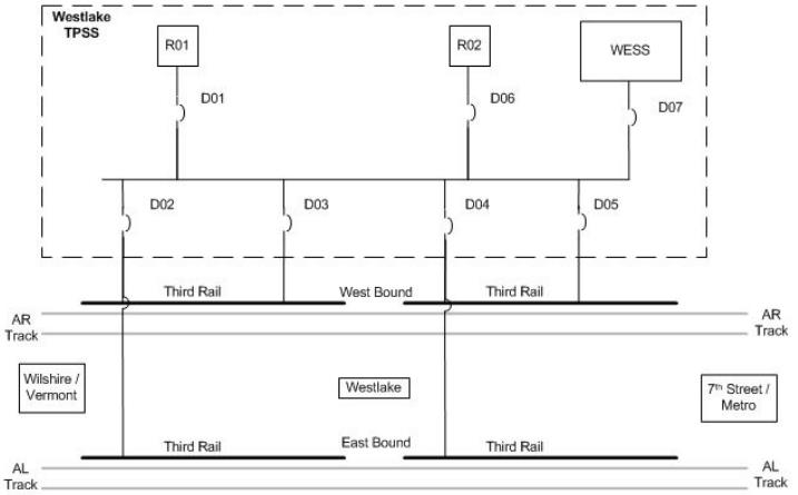
西湖/麦克阿瑟公园站的牵引变电站直流母线由两个断路器(CB)D01和D06供电,由两个整流器R01和R02组成,直流母线连接四个馈线直流断路器D02-D05,分别为东行(AL)和西行(AR)轨道列车供电。如图1所示:
图1:VYCON REGEN 接线图
WESS安装在牵引变电站中,通过一个独立的断路器D07连接至DC总线上,断路器提供就地和远程控制以及过流和故障保护,WESS通过由线路电感组成的EMI滤波器和每个FWU中的电容确保电路具有足够的电磁干扰保护。FWM由WESS实时控制器(RTC)控制,RTC由工业处理器,模拟和数字输入和输出、网络通信以及用户界面的触摸面板显示器组成,RTC提供对WESS的控制、监测及记录。RTC监测列车的制动和加速情况,然后命令FWM进行充电和放电。WESS性能和状态如图2所示:
图2
四、WESS节约能源
WESS不断监测西湖/麦克阿瑟公园站牵引变电站的电压、馈线断路器电流以及附近列车的位置,WESS利用电压、电流和列车位置来控制其运行、监控能源节约和能源使用情况,并根据需要调整最佳的节能效果。
WESS每天节省1.3到1.7MWh,平均节省1.5MWh,节省的能量可按方程式计算:
节省能源%=节省能源/(节省能源+整流器提供的能量)
地铁每天运行20小时,高峰期行车间隔为5分钟,平峰期行车间隔为10分钟,低峰期运行时间为10-20分钟,周末行车间隔为5-20分钟。工作日WESS每天平均节省1.6MWh电量,周末平均每天节约1.5MWh电量。
根据行车间隔总结WESS每周节省电量,如图3所示:
图3
根据列车时刻表总结WESS每天节省电量,如图4所示:
图4
5分钟的行车间隔内,WESS平均每天节省0.45MWh或10%的电量,5-10分钟的行车间隔内,WESS平均每天节省0.73MWh或11%的电量,10-20分钟行车间隔内,WESS平均每天节省0.27MWh或14%的电量。通过以上数据可以分析得出,列车之间的再生制动能量吸收再利用影响了WESS捕获制动能量的能力,列车之间的再生制动程度取决于列车进出站的同步顺序。比如,在一个特定的车站内,一列列车减速进站,同时一列列车加速出站,这个同步顺序最大限度的增加接车之间的再生制动能力,相反,当两列列车几乎同时进站并同时驶出车站,这种条件减少了列车间的自然再生,最大限度的提高了WESS捕获制动能量的能力。
在地铁车站中,列车的时序的变化的,有时稳定同步,有时稳定异步,有时会变化。WESS会通过分析计算处理所有这些情况,在自然再生与能量捕获之间合理调整,达到节能效果的最大化。
五、按用电计费区段分析节约能源
美国电力公用事业日计费区段分为高峰、低峰和基峰,能源和电力成本分别为高、中、低三个阶段。洛杉矶地铁列车调度间隔时间区段和电力公用事业日计费区段并不一致,例如,当电力成本最高时,跨越了洛杉矶地铁5至10分钟的行车间隔和5分钟的行车间隔。图5显示了每个计费区段节省的能源使用量,WESS在基础部分节能最多,为0.7WMh或12%,基础部分占据了大部分时间,并为大多数列车提供电力。
图5
图6显示了WESS节能效果的每日变化,按电力公用事业日计费区段划分,基峰区段日常波动最高,因为基段包括早晨5分钟的峰值间隔,在这段时间里,能源节约的变化更大。
图6
六、降低峰值功率需求
对于地铁的供电能力要求,电力需求是15分钟间隔内的平均功率,峰值功率需求是在任何15分钟间隔内最高的平均功率使用。WESS节能了能源的使用,也意味着降低了平均功率和峰值功率需求。图7比较了安装WESS前后的峰值功率需求,WESS将电力需求降低了约350KW。
图7
从以上的分析可以看出,WESS节约成本是以千瓦时为单位的能源使用量和以千瓦为单位的峰值功率需求。洛杉矶地铁对这个高科技项目所实现的运营业绩和节能效果感到非常满意,这将有助于创造更环保的环境,实现可持续发展目标,同时减少公用事业费用。
七、关于VYCON
VYCON成立于2003年,公司总部位于美国加利福尼亚州,是全球领先的飞轮储能系统创新者。VYCON REGEN物理储能产品在交通运输行业有着广泛的应用,在全球有超过1200台飞轮产品投入使用,可为用户提供高可靠度、经济高效的绿色能源存储解决方案。








